zui-xin-dong-tai
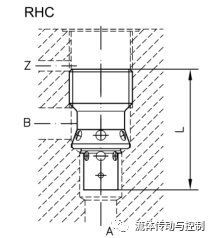
JIS_B_2351英制管螺紋O形圈密封油口尺寸
摘要:在工程機械主機液壓系統中,液壓管接頭及連接油口的設計對整個液壓系統的密封可靠性,尤其是整個主機的正常運轉至關重要,如設計選用不當,會造成管路泄漏以及污染環境。基于管接頭的選擇主要是根據主機油口結構的 ...
吸油管,就是一根從油泵吸油口到油箱油面線以下的平常管子。但就是這根管,經常有人問油管粗細是如何確定的,吸油高度最大能到多少等等。 大家知道吸油管道內徑是和液體流量或液體流速相關。當泵流量決定后,吸油管道的粗細是和流速相關了。 在設
主要聊4個常用的壓力單位:kgf/cm2、bar、MPa、1mmH2O。
插裝式螺紋閥的安裝型式可歸納為三種,分別是埋入式(Insert-type)、滑入式(Slip-in)和旋入式(Screw-in)。埋入式閥完全進入閥塊內部,沒有暴露在閥塊之外的部分,利用自身螺紋或者其它部件如管接頭、卡環擋圈等來定位 ...
選擇液壓泵的主要原則是主機設備的類型;選擇液壓泵時要考慮的因素主要有結構形式、工作壓力、流量、轉速、效率、定量或變量、變量方式、壽命、原動機的類型、噪聲、壓力脈動率、自吸能力、與液壓油的相容性、尺寸、 ...
1.液壓缸的日常檢查內容 ①液壓缸的泄漏情況。 ②液壓缸的動作狀態是否正常。 ③液壓缸運行時的聲音和溫度有無異常。 ④活塞桿有無傷痕和污染物的粘著情況。 ⑤液壓缸安裝部位的狀態,有無松動、裂痕、咬合、變形等 ...
泵站是液壓系統的心臟,一個性能優良、設計合理的泵站對設備的性能、壽命、使用成本、檢修強度會帶來至關重要的影響。根據我們對所在單位多個液壓系統運行過程中出現的一些問題的分析和總結,就其中泵站設計和維護中 ...
設計要求 1. 可靠性高,確保孔道間不竄油; 2. 結構緊湊,占用空間小; 3. 油路簡單,壓力損失小; 4. 易于加工,輔助工藝孔少; 5. 便于布管; 6. 各控制閥調節操作方便。 設計步驟 1. 根據閥塊在系統中的布置和管路布局 ..
O型圈設計、使用不當會加速它的損壞,喪失密封性能。實驗表明,如密封裝置各部分設計合理,單純地提高壓力,并不會造成O型圈的破壞。在高壓、高溫的工作條件下,O型圈破壞的主要原因是O型圈材料的永久變形和O型圈被 ...
公制螺紋 螺紋標準的一種,又稱米制螺紋,與英制螺紋最大的區別是螺距用毫米計量。公制螺紋用螺距來表示,美英制螺紋用每英寸內的螺紋牙數來表示,這是它們最大的區別,公制螺紋是60度等邊牙型,英制螺紋是等腰55度 ...
O形密封圈簡稱O形圈,是一種截面為圓形的橡膠圈。O形密封圈是液壓、氣動系統中使用最廣泛的一種密封件。 O形圈有良好的密封性,既可用于靜密封,也可用于往復運動密封中;不僅可單獨使用,而且是許多組合式密封裝置中 ...
微信掃一掃
Copyright ?山東森特克液壓有限公司 | 螺紋插裝閥&二通插裝閥應用專家 | 致力于插裝閥集成系統優訂制&液壓伺服控制系統,Inc.All rights reserved. 魯ICP備16019183號 Powered by CmsEasy